【壓縮機網】在節能環保理念日益深入人心的今天,壓縮空氣作為工業“第四大能源”,其凈化處理的能耗效率備受關注。作為壓縮空氣后處理領域的創新引領者,廣東凌宇能源裝備有限公司始終致力于通過核心技術突破,為客戶創造更大價值。
近日,公司創新研發成果再獲國家權威認可——“分流再生式鼓風熱吸附式干燥機”成功獲得國家知識產權局頒發的實用新型專利證書(專利號:ZL202421768209.8)!這標志著凌宇在壓縮空氣凈化、分離領域取得了又一重要突破,為解決行業痛點、推動節能降耗提供了更優解決方案。

聚焦痛點
傳統鼓風熱干燥的再生難題
鼓風熱吸附式干燥機因其顯著的節能特性(無需消耗昂貴的壓縮空氣進行再生)在市場上廣受歡迎。然而,傳統設計在實際運行中仍面臨一個關鍵挑戰:再生不徹底。這主要體現在:
01|再生阻力大,能耗偏高
單一氣流路徑導致再生氣體在吸附塔內流動阻力(壓降)較大,迫使鼓風機需要更高功率運行,增加了能耗。
02|底部再生困難,吸附劑易板結
由于吸附劑傳熱性能限制,熱量往往難以有效傳遞至吸附塔中下部。這導致底部吸附劑再生不充分,水分殘留。長期積累會造成吸附劑“積水-板結”,進一步增大氣流阻力,形成惡性循環,嚴重時甚至導致鼓風機過載燒毀。
03|露點穩定性受影響
再生不徹底直接導致吸附劑的動態吸附能力下降,干燥效果波動,壓縮空氣的“壓力露點”穩定性變差,影響用氣端設備性能和產品質量
04|維護成本增加
吸附劑板結后需要頻繁更換,增加了設備維護成本和停機時間。
創新方案
分流再生,破解困局
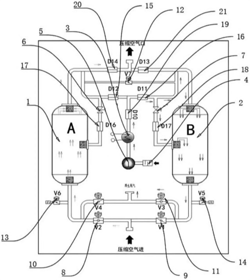
凌宇本次獲得的實用新型專利——“分流再生式鼓風熱吸附式干燥機”,其核心創新點在于革命性的“再生氣分流”設計,精準有效地解決了上述行業痛點。
雙路并行,降低阻力:該技術在原有再生通路上,創新性地增加了一路再生氣體通道。再生氣流被智能分流為兩路:
創新方案
核心優勢
01|顯著降低壓降,節能更優
雙路并行設計大幅增加了再生氣的有效流通面積,顯著降低了氣體流動阻力(壓降)。這意味著在達到相同再生效果時,鼓風機所需功率更低,能耗進一步降低,運行成本更具優勢。
02|再生更徹底,消除板結隱患
從中部引入的第二路熱再生氣體,直接作用于傳統設計中熱量難以到達的中下部吸附劑區域。這確保了整個吸附床層(尤其是底部)都能得到充分、均勻的加熱再生,水分被徹底脫附排出,從根本上避免了吸附劑因積水導致的板結問題,極大延長了吸附劑壽命,降低了維護成本。
03|提升露點穩定性與干燥效率
更徹底的再生意味著吸附劑始終保持在最佳工作狀態,其動態吸附容量更穩定、更高。這使得干燥機能夠持續輸出更穩定、更低露點的干燥壓縮空氣,滿足更高要求的工藝需求。同時,中下部加熱也有助于縮短整體再生加熱時間,提升了設備運行效率。
04|增強系統可靠性
消除了吸附劑板結風險,保護了鼓風機免受過載損壞,大幅提高了設備的長期運行可靠性和使用壽命。
技術價值
實用高效,賦能客戶
此項實用新型專利技術,是凌宇對鼓風熱干燥技術的一次重要優化升級。它并非停留在理論層面,而是聚焦于解決實際應用中的關鍵問題,具有顯著的實用性、經濟性和環保性:
節能效益再升級
在鼓風熱干燥機本已較低的能耗基礎上,通過降低鼓風機功耗,實現了能耗的進一步優化,為用戶節省更多運行電費。
運行穩定有保障
延長吸附劑更換周期,降低耗材和維護成本。
維護成本更低廉
延長吸附劑更換周期,降低耗材和維護成本。
干燥品質更卓越
提供更穩定、更低露點的干燥空氣,提升終端產品質量和生產穩定性。
綠色環保
更低的能耗意味著更少的碳排放,積極響應國家“雙碳”目標。
凌宇創新
持續引領節能凈化技術
此項專利是凌宇“技術支撐,價值驅動”理念的生動體現,彰顯了公司在壓縮空氣凈化分離領域節能、可靠與創新的領先實力。凌宇將持續創新,以卓越品質邁向“世界知名品牌”愿景,助力全球工業綠色高效發展!
【壓縮機網】在節能環保理念日益深入人心的今天,壓縮空氣作為工業“第四大能源”,其凈化處理的能耗效率備受關注。作為壓縮空氣后處理領域的創新引領者,廣東凌宇能源裝備有限公司始終致力于通過核心技術突破,為客戶創造更大價值。
近日,公司創新研發成果再獲國家權威認可——“分流再生式鼓風熱吸附式干燥機”成功獲得國家知識產權局頒發的實用新型專利證書(專利號:ZL202421768209.8)!這標志著凌宇在壓縮空氣凈化、分離領域取得了又一重要突破,為解決行業痛點、推動節能降耗提供了更優解決方案。

聚焦痛點
傳統鼓風熱干燥的再生難題
鼓風熱吸附式干燥機因其顯著的節能特性(無需消耗昂貴的壓縮空氣進行再生)在市場上廣受歡迎。然而,傳統設計在實際運行中仍面臨一個關鍵挑戰:再生不徹底。這主要體現在:
01|再生阻力大,能耗偏高
單一氣流路徑導致再生氣體在吸附塔內流動阻力(壓降)較大,迫使鼓風機需要更高功率運行,增加了能耗。
02|底部再生困難,吸附劑易板結
由于吸附劑傳熱性能限制,熱量往往難以有效傳遞至吸附塔中下部。這導致底部吸附劑再生不充分,水分殘留。長期積累會造成吸附劑“積水-板結”,進一步增大氣流阻力,形成惡性循環,嚴重時甚至導致鼓風機過載燒毀。
03|露點穩定性受影響
再生不徹底直接導致吸附劑的動態吸附能力下降,干燥效果波動,壓縮空氣的“壓力露點”穩定性變差,影響用氣端設備性能和產品質量
04|維護成本增加
吸附劑板結后需要頻繁更換,增加了設備維護成本和停機時間。
創新方案
分流再生,破解困局
凌宇本次獲得的實用新型專利——“分流再生式鼓風熱吸附式干燥機”,其核心創新點在于革命性的“再生氣分流”設計,精準有效地解決了上述行業痛點。
雙路并行,降低阻力:該技術在原有再生通路上,創新性地增加了一路再生氣體通道。再生氣流被智能分流為兩路:
創新方案
核心優勢
01|顯著降低壓降,節能更優
雙路并行設計大幅增加了再生氣的有效流通面積,顯著降低了氣體流動阻力(壓降)。這意味著在達到相同再生效果時,鼓風機所需功率更低,能耗進一步降低,運行成本更具優勢。
02|再生更徹底,消除板結隱患
從中部引入的第二路熱再生氣體,直接作用于傳統設計中熱量難以到達的中下部吸附劑區域。這確保了整個吸附床層(尤其是底部)都能得到充分、均勻的加熱再生,水分被徹底脫附排出,從根本上避免了吸附劑因積水導致的板結問題,極大延長了吸附劑壽命,降低了維護成本。
03|提升露點穩定性與干燥效率
更徹底的再生意味著吸附劑始終保持在最佳工作狀態,其動態吸附容量更穩定、更高。這使得干燥機能夠持續輸出更穩定、更低露點的干燥壓縮空氣,滿足更高要求的工藝需求。同時,中下部加熱也有助于縮短整體再生加熱時間,提升了設備運行效率。
04|增強系統可靠性
消除了吸附劑板結風險,保護了鼓風機免受過載損壞,大幅提高了設備的長期運行可靠性和使用壽命。
技術價值
實用高效,賦能客戶
此項實用新型專利技術,是凌宇對鼓風熱干燥技術的一次重要優化升級。它并非停留在理論層面,而是聚焦于解決實際應用中的關鍵問題,具有顯著的實用性、經濟性和環保性:
節能效益再升級
在鼓風熱干燥機本已較低的能耗基礎上,通過降低鼓風機功耗,實現了能耗的進一步優化,為用戶節省更多運行電費。
運行穩定有保障
延長吸附劑更換周期,降低耗材和維護成本。
維護成本更低廉
延長吸附劑更換周期,降低耗材和維護成本。
干燥品質更卓越
提供更穩定、更低露點的干燥空氣,提升終端產品質量和生產穩定性。
綠色環保
更低的能耗意味著更少的碳排放,積極響應國家“雙碳”目標。
凌宇創新
持續引領節能凈化技術
此項專利是凌宇“技術支撐,價值驅動”理念的生動體現,彰顯了公司在壓縮空氣凈化分離領域節能、可靠與創新的領先實力。凌宇將持續創新,以卓越品質邁向“世界知名品牌”愿景,助力全球工業綠色高效發展!



網友評論
條評論
最新評論